18新利最新登入如何折叠折纸

一张纸将不可思议地转换成一个 跳跃的青蛙
©2007出版物国际有限公司

折纸折叠纸的日本艺术为对象。这是一个古老的艺术,但不像看起来难学,稍加练习还可以学习如何折叠折纸。18新利最新登入

你的朋友将会惊讶,因为他们见证了一个简单的索引卡他们从来没有在他们的眼睛之前转换成生物和对象的预期。只要一点耐心和奉献,你会惊讶甚至自己。

广告

遵循下面的链接开始探索世界的折纸:

折纸的飞跃青蛙

呱呱!每个人都将很高兴你将学习如何折叠折纸青蛙跳跃。18新利最新登入

论文评分

了一种叫做“得分”将帮助您开发更高级的折纸技巧。学习得分。

进入下一个页面第一折纸项目。

寻找更多酷纸工艺品?查看这些页面:

广告

折纸的飞跃青蛙

折纸的飞跃青蛙
©2007出版物国际有限公司

把一张纸变成一个折纸的飞跃青蛙和种族它在桌子上。

你将需要:

  • 一个3×5英寸空白索引卡
  • 铅笔

18新利最新登入如何让一个折纸的飞跃青蛙:

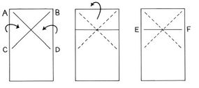
步骤1:根据插图折索引卡。折叠点A到点d展开与其他角落,并重复折叠点B到C点。

广告

折纸青蛙跳跃模式
©2007出版物国际有限公司

步骤2:折叠纸的上半部分,然后展开。

步骤3:持有双方点E和F,把他们在一起向中心。

步骤4:按本文的上半部分,创建一个三角形。

步骤5:折点G三角形的角点我在三角形的顶部,并形成一个小三角形。重复与其他角落的大三角点H。

折纸的飞跃青蛙折叠指令
©2007出版物国际有限公司

步骤6:折叠的小三角形切一半,。然后折叠的大约1/4英寸的索引卡。

第七步:褶皱的低端索引卡3/4英寸。然后那张折下来一半。把你的青蛙,画上眼睛。按你的手指在青蛙的背上的飞跃。

学习一些先进的折纸技术在下一页。

寻找更多酷纸工艺品?查看这些页面:

广告

论文评分

先进的折纸折叠
©2007出版物国际有限公司

学习如何使用18新利最新登入论文得分创造幻想通过折纸项目。这种先进的折纸折叠技术将平面的纸变成三维艺术。

你将需要:

  • 重量级的纸或索引卡
  • 评分指南如尺子、指南针、曲线或法国统治者
  • 钝剪刀
  • 透明胶带

得分在纸上创造了一个印象作为折叠指南。这使得它更容易纸折叠成直,弯曲,或波浪线。

广告

进一张纸上,用一把尺子来指导你的剪刀你在纸上画一条线。弯曲或波浪线,利用指南针或者法国曲线统治者。下面是一些通过折纸的想法开始。

18新利最新登入如何得分:

步骤1:从一张纸上剪下一个大圆。使用指南针得分两个圆。

步骤2:切缝的外边缘到中心。折一个圆内,捏它沿着划线。把纸圈,和其他折内循环。

步骤3:重叠的结束,并带他们在一起安全。

另一个想法:

步骤1:从一张纸上剪下一个弯曲的形状。使用指南针得分4曲线的形状。

步骤2:折叠每一行,把纸在之后的每一个褶皱,以替代方向折叠。

或者,试试这个:

步骤1:取得一些直线在一张纸上。

步骤2:复写簿纸沿着线分数,然后折叠在角落里。

步骤3:打开复写簿,捏顶部和底部三角形折叠每个复写簿折痕的相反的方向。

寻找更多酷纸工艺品?查看这些页面:

广告

特色

广告

加载……
Baidu